1. 防止液體的逆流現象,保護泵設備等。
2. 由于是懸臂式止回閥,對流體產生阻力較小。
3. 全塑料材料制造,發揮酸堿等腐蝕性流體的強耐腐蝕性。
4. 不僅可從配管上拆卸閥體,而且,可打開閥帽,進行內部點檢維護。
?
?
| 材料 |
?????? 介質溫度℃ |
材料 |
介質溫度℃ |
| 氯化聚氯乙烯(PVC-C) |
-20℃~+95℃ |
聚氯乙烯(PVC-U) |
-5℃~+45℃ |
| 增強聚丙烯(FRPP) |
-20℃~+120℃ |
均聚聚丙烯(PPH) |
-20℃~+110℃ |
| 聚偏二氟乙烯(PVDF) |
40℃~+150℃ |
|
|
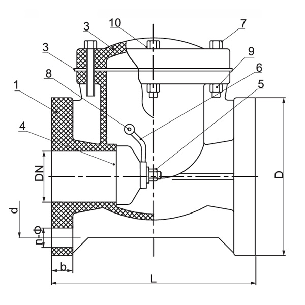
| 序號 |
零件名稱 |
材料 |
數量 |
| PVC-C |
PVC-U |
PVDF |
PPH |
FRPP |
| 1 |
閥體 |
PVC-C |
PVC-U |
PVDF |
PPH |
FRPP |
1 |
| 2 |
閥蓋 |
PVC-C |
PVC-U |
PVDF |
PPH |
FRPP |
1 |
| 3 |
密封橡膠 |
FPM |
EPDM |
FPM |
EPDM |
1 |
| 4 |
拍門 |
PVC-C |
PVC-U |
PVDF |
PPH |
FRPP |
1 |
| 5 |
壓緊螺栓 |
PVC-C |
PVC-U |
PVDF |
PPH |
FRPP |
1 |
| 6 |
搖桿 |
PVC-C |
PVC-U |
PVDF |
PPH |
FRPP |
1 |
| 7 |
螺栓 |
鋼 |
不銹鋼 |
鋼 |
6-16 |
| 8 |
連接桿 |
PVC-C |
PVC-U |
PVDF |
PPH |
FRPP |
1 |
| 9 |
螺母 |
鋼 |
不銹鋼 |
鋼 |
6-32 |
| 10 |
壓板 |
鋼 |
不銹鋼 |
鋼 |
1 |
?
?
| 規格 |
d(mm) |
D(mm) |
L(mm) |
b(mm) |
n-Φ(mm) |
| 1/2"(15) |
60 |
115 |
160 |
18 |
4-Φ16 |
| 3/4"(20) |
70 |
115 |
160 |
18 |
4-Φ16 |
| 1"(25) |
79 |
115 |
160 |
18 |
4-Φ16 |
| 1?"(40) |
98 |
145 |
170 |
20 |
4-Φ16 |
| 2"(50) |
121 |
160 |
200 |
21 |
4-Φ19 |
| 2?"(65) |
140 |
180 |
240 |
25 |
4-Φ19 |
| 3"(80) |
152 |
197 |
265 |
26 |
8-Φ19 |
| 4"(100) |
191 |
215 |
300 |
26 |
8-Φ19 |
| 5"(125) |
216 |
250 |
350 |
30 |
8-Φ22 |
| 6"(150) |
241 |
280 |
400 |
30 |
8-Φ22 |
| 8"(200) |
299 |
340 |
500 |
30 |
8-Φ22 |
| 10"(250) |
362 |
390 |
575 |
38 |
12-Φ25 |
?