1. 工程塑料系列球閥采用 FRPP、PVDF、PVC-C、PVC-U、PPH 等耐腐蝕熱塑性塑料一次注塑成形,有較強抗腐能力。
2. 密封可靠、啟閉力矩小。
3. 流體阻力小、啟閉迅速。
4. 結構簡單、外形美觀。
?
?
| 材料 |
?????? 介質溫度℃ |
材料 |
介質溫度℃ |
| 氯化聚氯乙烯(PVC-C) |
-20℃~+95℃ |
聚氯乙烯(PVC-U) |
-5℃~+45℃ |
| 增強聚丙烯(FRPP) |
-20℃~+120℃ |
均聚聚丙烯(PPH) |
-20℃~+110℃ |
| 聚偏二氟乙烯(PVDF) |
40℃~+150℃ |
|
|
?

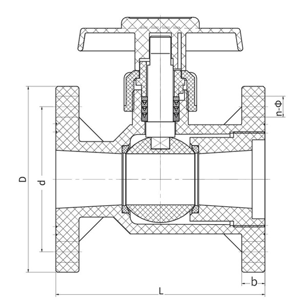
一體型球閥裝配明細圖
?
?
?
| 件號 |
名稱 |
材質 |
| 1 |
手柄 |
合金料 |
| 2 |
壓緊螺母 |
FRPP、PVDF、PVC-U、PVC-C、PPH |
| 3 |
內塞 |
FRPP、PVDF、PVC-U、PVC-C、PPH |
| 4 |
閥桿 |
FRPP、PVDF、PVC-U、PVC-C、PPH |
| 5 |
閥桿密封 |
PTFE |
| 6 |
球密封 |
PTFE |
| 7 |
密封座 |
FRPP、PVDF、PVC-U、PVC-C、PPH |
| 8 |
球 |
FRPP、PVDF、PVC-U、PVC-C、PPH |
| 9 |
閥體 |
FRPP、PVDF、PVC-U、PVC-C、PPH |
?
公稱直徑 DN(mm) |
D |
d |
L |
b |
n-φ |
| GB |
JIS |
ANSI |
? GB |
JIS |
ANSI |
GB |
JIS |
ANSI |
| 15(1/2") |
95? |
95? |
|
? 65? |
70? |
|
120? |
15? |
4-15 |
4-φ15 |
|
| 20(3/4") |
105? |
100? |
100? |
? 75? |
75? |
69.9? |
120? |
16? |
4-φ15 |
4-φ15 |
4-16 |
| 25(1") |
120? |
125? |
110? |
? 85? |
90? |
79.4? |
130? |
16? |
4-φ15 |
4-φ19 |
4-φ16 |
| 32(11/4") |
135? |
135? |
115? |
? 100? |
100? |
88.9? |
145? |
18? |
4-Φ18 |
4-Φ19 |
4-16 |
| 40(11/2") |
145? |
140? |
125? |
? 110? |
105? |
98.4? |
168? |
20? |
4-p18 |
4φ19 |
4-φ16 |
| 50(2") |
160? |
155? |
150? |
? 125? |
120? |
120.7? |
180? |
20? |
4-φ19 |
4-φ19 |
4-18 |
| 65(21/2") |
180? |
175? |
180? |
? 145? |
140? |
139.7? |
225? |
22? |
4-19 |
4-Φ19 |
4-φ18 |
| 80(3") |
195? |
185? |
190? |
? 160? |
150? |
152.4? |
255? |
25? |
8-φ18.5 |
8-19 |
4-φ18 |
| 100(4") |
229? |
210? |
229? |
? 180? |
175? |
190.5? |
280? |
25? |
8-Φ18.5X20 |
8-Φ19 |
8-Φ18.5X20 |
| 125(5") |
254? |
250? |
254? |
? 210? |
210? |
215.9? |
350? |
30? |
8-Φ18.5X20 |
8-Φ23 |
8-φ22 |
| 150(6") |
280? |
280? |
280? |
? 240? |
240? |
241.3? |
400? |
30? |
8-Φ24X27 |
8-Φ24X27 |
8-Φ24X27 |
| 200(8") |
335? |
330? |
335? |
? 295? |
290? |
298.5? |
400? |
35? |
8-Φ23 |
12-Φ23 |
8-Φ22 |
| 250(10") |
400? |
400? |
400? |
? 350? |
355? |
362? |
450? |
38? |
12-φ23X26 |
12-φ25 |
12-φ26 |
| 300(12") |
440? |
440? |
|
? 400? |
400? |
|
450? |
38? |
12-Φ23 |
16-Φ25 |
|

?
?
?